CRM(客户资料管理)系统在现代企业的管理实践中得到越来越广泛的应用,在呼叫中心的应用场景里,客户跟进/客户服务也是必不可少的环节,因此,呼叫中心系统一般都有CRM功能模块。

OK-CC的CRM模块,主要包含资料管理、客户跟进、呼叫管理3块。
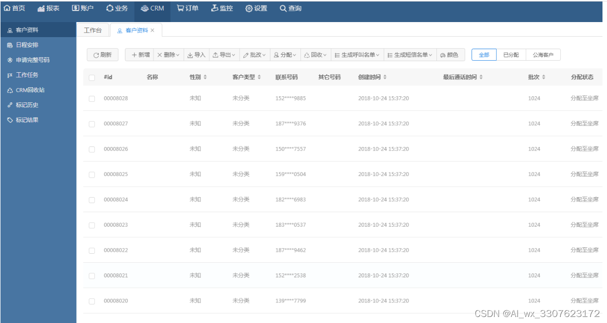
资料管理,主要包含导入/新增/导出、分配、修改、删除及回收。
一般的,客户资料导入存在2个难点:一是因Excel版本众多引入的文件兼容性难题,二是大批量导入效率的问题;OK-CC呼叫中心系统均进行了针对性优化,默认支持50万条数据一次性导入,满足生产实施中的需求;除此之外,依据场景管理需要,可以设置导入的资料是否需要剔重、导入时备注资料批次、导入时生成呼叫名单。
不同的应用场景,用户对客户资料的关注点会各不相同。OK-CC的CRM资料字段支持自定义,支持文本、数字、号码、日期/时间、单选、复选等字段类型,在实践中得到广泛应用。
客户资料作为公司的重要资料,保密性及使用效率,一直是很多公司的痛点。隐藏号码中间4位(配套申请查看完整号码功能)、资料标签分类、分配与回收、过期回收到公海、客户自助申请分配资料,基本可以满足不同类型呼叫中心职场对客户资料管理的功能需求。
实践中,即使系统在用户删除操作时反复提醒确认,总还是会出现人工误删除的情况,极端情况客户误操作将客户资料清库,损失不可估量;这时候,人工后悔药的需求就强烈了起来,OK-CC的资料回收站应景而生。
客户跟进,主要在于客户资料弹屏、标记、预约/日程管理。
在呼叫频繁的场景,弹屏是坐席最高频使用的页面,因此,弹屏页面的人性化处理,将给坐席带来体验的极大提升。例如,只保存不关闭页面与保存&关闭页面,加上新弹屏自动关闭老页面,带来的体验提升不可同日而语。在职场坐席高流动性的背景下,弹屏中展现常见话术,可以有效降低坐席培训/上手成本,弹屏页面是简洁展示还是全展示,在不同的场景下各不相同。
当客户跟进有进展时,坐席既可以通过话机按键标记客户类型,也可以通过弹屏标记客户类型,客户的类型既可以采用系统默认分类,也支持自行设定。
当跟进客户时,与客户约定后续的跟进时间,此时,可以在系统上增加提醒,设定提醒时间,并设定提醒的周期,是单次提醒还是定期提醒,当临近到期时,系统将提醒坐席做客户跟进。
如果坐席与客户的沟通直接成交,还可以通过OK-CC的订单模块直接下单。OK-CC的订单模块,后续再做专题介绍。
呼叫中心中CRM是与呼叫相关联的。除导入客户资料时可以创建呼叫名单启动呼叫任务之外,OK-CC的CRM呼叫相关常用功能有:点击呼叫、发短信、工作任务、呼叫记录及呼叫统计。
坐席在客户资料中,点击客户资料即可进行呼叫或发送短信,极大提高工作效率;在坐席的工作任务页面,坐席所有需要呼叫的客户资料存放在此,呼叫一条减少一条,任务进度清晰明了;弹屏页面中,客户跟进的过程清晰展示,方便坐席跟进维护。
行业在发展,OK-CC呼叫中心系统也在同步发展。
例如,客户资料的来源,除了传统的导入,还有来自SEM(搜索引擎营销)以及大数据平台的合作。OK-CC已经支持SEM的导入及自动分配,根据客户需要也定制开发支持部分大数据平台的对接及数据模式的创新性应用场景。
除此之外,针对行业应用趋于精细化竞争发展,OK-CC将细化客户的跟进阶段,不同阶段应用不同的呼叫及CRM管理功能,提升坐席跟进客户的效率,提升呼叫中心职场业绩,敬请期待。
有关系统方面问题请找博主,看他名字就可以微他一起交流学习
